- 雷達液位計料位計系列產品
- 壓力/液位/差壓/密度變送器
- 液位儀表系列
- 流量儀表系列
- 物位儀表系列
- 液位/溫度/壓力/流量-報警儀
- PLC/DCS自動化控制監控系統
- GPRS無線遠傳裝置
- 有紙/無紙記錄儀系列
- 溫度儀表系列
- 分析儀|檢測儀|校驗儀系列
全國銷售熱線:400-9280-163
電話:86 0517-86917118
傳真:86 0517-86899586
銷售經理:1560-1403-222 (丁經理)
??? ? ? ? 139-1518-1149 (袁經理)
業務QQ:2942808253 / 762657048
網址:http://www.hnbz8.com
電話:86 0517-86917118
傳真:86 0517-86899586
銷售經理:1560-1403-222 (丁經理)
??? ? ? ? 139-1518-1149 (袁經理)
業務QQ:2942808253 / 762657048
網址:http://www.hnbz8.com
磁翻板液位計在電廠水處理系統中的使用情況簡介
發表時間:2019-09-19 ??點擊次數:818? 技術支持:1560-1403-222
電廠水處理系統中的強酸堿系統, 有酸堿貯槽、計量箱等容器。為防設備腐蝕, 大部份采用在設備內壁襯耐酸橡膠, 玻璃鋼等技術措施。液位計一般采用浮桶式、玻璃管式、玻璃板式等。浮桶式因標桿與套管之間有間隙, 腐蝕性氣體大量從間隙處泄漏, 使設備外壁的鋼壁嚴重腐蝕。同時, 因塑料標桿曰32 X 3.2 , 長4 m , 強度差, 變形彎曲后被套管卡住, 液位失靈, 反而形成假液位, 造成誤判斷。玻璃管式, 強度差易損壞, 與罐體連接困難, 不宜作的太長。玻璃板式常會發生由于和容器的接合面不平等現象造成泄漏, 此外對罐體強度也有影響, 結構也較復雜, 安裝要求也較嚴格, 液位顯示也不太醒目。
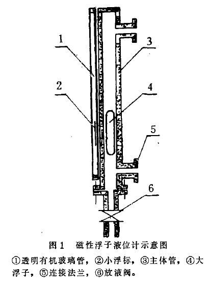
經多年實踐, 我廠淘汰了以上各種型式液時計, 改用液位計廠生產的uhz 系列磁翻板液位計。該液位計zui大的特點是: 液面指示標記與介質完全隔離, 使介質置于密閉系統中, 從而有效防止了腐蝕性氣體外泄, 從根木上解決了設備外壁腐蝕。同時具有耐腐蝕, 液位顯示醒目, 耐壓強度大, 重量輕、維護工作量小, 全量程指示測量長度范圍大等優點。該液位計的結構并不復雜。( 參見圖1 )。

磁翻板液位計有一和貯槽相連, 內通介質的主體管③ , 直徑為60 m m , 材質為P V C / F R P 增強塑料, 所以能耐強酸, 強堿的腐蝕。因外壁用玻璃鋼增強, 所以具有強度高, 耐老化的性能, 管內裝大浮子④ , 圓柱形磁浮體, 封閉的外殼為P V C 塑料, 內裝**性磁鐵, 該磁浮體能隨介質升降。管下部通過法蘭, 連接一放液塑料閥⑥ ( 如果不在此取樣, 該閥可以不裝, 用一J者板堵死)。緊貼管體固定一透明有機玻璃管① , 它和主體管不相通。內裝帶磁性液位標記— 小浮標② 。介質由下法蘭⑤ 進入主體管, 大浮標隨液位上升, 外部的小浮標, 靠磁力作用隨大浮標同步升降, 則小浮標上的兩色介面位置, 即為容器內介質的液位。

我廠磁翻板液位計安裝, 采用圖2 的形式。三臺酸貯存槽② ( 三臺以上也可以) 合用一臺液位計, 每臺酸槽的出口與磁翻板液位計 共連在一根連通管上⑤。要看某酸槽液位, 開該酸槽通液位計的閥門④ , 液位即可醒目顯示。如此布置能節省兩臺液位計, 價值四千余元( 酸貯存槽數量越多, 節約效果越大)。
此外, 在安裝時要注意: 裝大浮子時重端向上; 裝液位標計( 小浮標) 時, 紅色端向上, 這樣可防止磁性相斥。裝完后用備用磁鋼, 將小浮標引到大浮子磁性材料處, 顯示即可正常。目前該磁翻板液位計在我廠應用情況良好。
上一條:差壓變送器原理簡述、常見故障分析及正確進行校檢校準
下一條:隔離膜片壓阻式變送器及其在液位測量中的應用
經多年實踐, 我廠淘汰了以上各種型式液時計, 改用液位計廠生產的uhz 系列磁翻板液位計。該液位計zui大的特點是: 液面指示標記與介質完全隔離, 使介質置于密閉系統中, 從而有效防止了腐蝕性氣體外泄, 從根木上解決了設備外壁腐蝕。同時具有耐腐蝕, 液位顯示醒目, 耐壓強度大, 重量輕、維護工作量小, 全量程指示測量長度范圍大等優點。該液位計的結構并不復雜。( 參見圖1 )。

磁翻板液位計有一和貯槽相連, 內通介質的主體管③ , 直徑為60 m m , 材質為P V C / F R P 增強塑料, 所以能耐強酸, 強堿的腐蝕。因外壁用玻璃鋼增強, 所以具有強度高, 耐老化的性能, 管內裝大浮子④ , 圓柱形磁浮體, 封閉的外殼為P V C 塑料, 內裝**性磁鐵, 該磁浮體能隨介質升降。管下部通過法蘭, 連接一放液塑料閥⑥ ( 如果不在此取樣, 該閥可以不裝, 用一J者板堵死)。緊貼管體固定一透明有機玻璃管① , 它和主體管不相通。內裝帶磁性液位標記— 小浮標② 。介質由下法蘭⑤ 進入主體管, 大浮標隨液位上升, 外部的小浮標, 靠磁力作用隨大浮標同步升降, 則小浮標上的兩色介面位置, 即為容器內介質的液位。

我廠磁翻板液位計安裝, 采用圖2 的形式。三臺酸貯存槽② ( 三臺以上也可以) 合用一臺液位計, 每臺酸槽的出口與磁翻板液位計 共連在一根連通管上⑤。要看某酸槽液位, 開該酸槽通液位計的閥門④ , 液位即可醒目顯示。如此布置能節省兩臺液位計, 價值四千余元( 酸貯存槽數量越多, 節約效果越大)。
此外, 在安裝時要注意: 裝大浮子時重端向上; 裝液位標計( 小浮標) 時, 紅色端向上, 這樣可防止磁性相斥。裝完后用備用磁鋼, 將小浮標引到大浮子磁性材料處, 顯示即可正常。目前該磁翻板液位計在我廠應用情況良好。
上一條:差壓變送器原理簡述、常見故障分析及正確進行校檢校準
下一條:隔離膜片壓阻式變送器及其在液位測量中的應用
- 相關文章
-
- 雷達液位計的作用 【2025-11-18】
- 雷達液位計使用注意事項 【2025-11-18】
- 雷達液位計安裝注意事項全解析 【2025-11-14】
- 雷達液位計工作原理及相關說明 【2025-11-14】
- 外夾式超聲波流量計進行正確安裝需掌握的幾個要領 【2015-12-30】
- 國產智能壓力變送器 【2024-01-03】
- 浮球液位變送器有用嗎 【2024-01-02】
- 投入式液位變送器品牌 【2023-12-30】
- 法蘭液位變送器經常不準 【2023-12-27】
- 液位變送器起到什么作用 【2024-01-07】








