- 雷達液位計料位計系列產品
- 壓力/液位/差壓/密度變送器
- 液位儀表系列
- 流量儀表系列
- 物位儀表系列
- 液位/溫度/壓力/流量-報警儀
- PLC/DCS自動化控制監控系統
- GPRS無線遠傳裝置
- 有紙/無紙記錄儀系列
- 溫度儀表系列
- 分析儀|檢測儀|校驗儀系列
全國銷售熱線:400-9280-163
電話:86 0517-86917118
傳真:86 0517-86899586
銷售經理:1560-1403-222 (丁經理)
??? ? ? ? 139-1518-1149 (袁經理)
業務QQ:2942808253 / 762657048
網址:http://www.hnbz8.com
電話:86 0517-86917118
傳真:86 0517-86899586
銷售經理:1560-1403-222 (丁經理)
??? ? ? ? 139-1518-1149 (袁經理)
業務QQ:2942808253 / 762657048
網址:http://www.hnbz8.com
塔槽等儲罐液位測量中采用雙液位計監控測量誤差分析及儀表選型
發表時間:2017-10-10 ??點擊次數:1584? 技術支持:1560-1403-222
1 雙液位計簡介
在石油化工自控設計人員對一些較重要的塔、槽、釜、罐的液位測量和控制采用雙液位計的設置, 如圖1和圖2所示。這樣設計一是為了將被測量液位轉換成顯示和控制所需的信號, 二是為了方便操作人員在生產現場進行巡回檢查時能方便地看到被測量液位指示值, 三是為了方便維護。其中之一液位計發生故障可以無顧慮地進行檢液位計修, 不會影響生產正常進行。簡要介紹液位變送器測量原理和雙液位計新的選型方法。


2 存在的問題
以上的雙液位計的設置應該說考慮得十分周全, 可是多數測量液位變送器都和密度ρ有關, 這就造成在實際使用過程中往往會出現這兩臺液位計指示值不能吻合, 有時誤差較大, 尤其在一個生產裝置開停工過程中或操作系統不穩定的情況下, 兩者之間誤差甚至會達到30%左右。這時生產操作人員就會為液位測量儀表的準確性向儀表維修人員提出疑問, 例如圖1, 某苯塔塔底液位測量, 它采用差壓測量液位變送器和玻璃板液位計相結合的雙液位計, 它的設計使用工況條件是塔底壓力80kPa, 溫度150℃, 介質密度ρ:0. 69g /cm3 , 差壓變送器測量液位的工作原理是ΔP =ρH, H =ρ/ΔP, 當生產穩定時, ρ=0. 69 g /cm3 , 也就是說相當于一個常數, 液位高度H 只和ΔP有關, 差壓變送器所測的液位應該是正確的, 也能和玻璃板液位計顯示的液位高度一致。但在裝置送苯過程中, 塔底注入的純苯, 其密度為0. 878 g /cm
3 , 塔底壓力和溫度均為常溫常壓,
遠遠偏離設計值, 這時就會出現玻璃板液位計所顯示的液位高度和差壓變送器傳送到中控室的液位指示值相差甚大。在注苯過程中差壓變送器所測的差壓ΔP注=ρ注H注=0. 878H注與設計值ΔP設=ρ設H設=0. 69H設相差甚遠, 因為差壓變送器無法識別所測的介質密度。這時它的差壓輸出為ΔP注=ΔP設, 這樣就出現0. 69H設= 0. 878H注、H設=0. 878 /0. 69 H注=1. 27H注, 這就是在注苯過程中差壓變送器顯示的液位高度遠遠大于玻璃板液位計液位顯示高度的原因。
如圖2, 某一鍋爐液位測量, 它采用外浮筒液位變送單元和玻璃板液位計相結合的雙液位計, 它的設計使用工況條件是壓力3MPa、溫度230℃、介質密度0. 823 g /cm3 。外浮筒液位變送器測量液位的原理是基于阿基米德定律, 浮筒浸在液體里所受到的浮力大小等于浮筒所排開液體的重量
F -浮筒所受的浮力;
ρ-液體密度;
A -浮筒截面積;
H -浮筒排開液體的液柱高度(被測液位的高度)。
對于一臺外浮筒液位變送器, 它的浮筒截面積A 是恒定不變的, 可視為一個常數, 那么浮力只和被測液體的密度ρ和高度H有關, 在正常生產的情況下, 被測液體的密度ρ基本上是一個常量, 即被測液位的高度H和浮力F成為一個線性關系:F設=ρ設.AH設。外浮筒液位變送器所測的液位高度(即中控室顯示的液位高度)就能和現場玻璃液位計顯示的液位高度一致。可是鍋爐開工初期進水、升壓升溫過程中, 所有的工況值都大大偏離設計值。這時水的密度ρ開=0. 98 g /cm3 , 就會出現F開=ρ開. AH開,按設計要求F設=F開, 也就是ρ設. AH設=ρ開. AH開,H設=ρ開/ρ設H開, 代入開工和設計的不同密度值, 就會得到H設=0. 98 /0. 823H開=1. 19H開, 這就是鍋爐開工初期出現的外浮筒液位變送器所測的液位高度(即中控室顯示的液位高度)大大高于現場玻璃液位計顯示的液位高度的原因。
這是兩個較為典型的雙液位計之間誤差偏大的問題, 誤差也只是暫時的, 等到開工正常后, 各項參數尤其是液體密度ρ達到設計值時, 兩臺液位計的指示就會一致, 一般情況下不必進行處理。但是出現儀表維修人員不能清楚地向生產操作人員解釋這一現象、或生產操作人員一定要求兩臺液位計指示一致的情況下, 只能將液位變送器或差壓變送器的零位一直下調到兩表一致, 待開工正常之后, 再將液位變送器或差壓變送器的零位調回去, 使兩臺液位計在正常生產情況下指示值一致。
有時候在生產過程中也會出現由于生產控制過程發生變化, 尤其是溫度發生較大變化的情況, 這時就會造成被測液體的密度ρ發生較大的變化, 從而使液位變送器指示值出現偏差, 造成兩臺液位計之間誤差較大。在雙液位計之間發生指示偏差較大。在處理這類故障時, 一定要*先了解生產工況是否有較大變化, 一定要慎重處理, 以免帶來很多不必要的工作。


3 磁翻板雙液位計的原理及優點
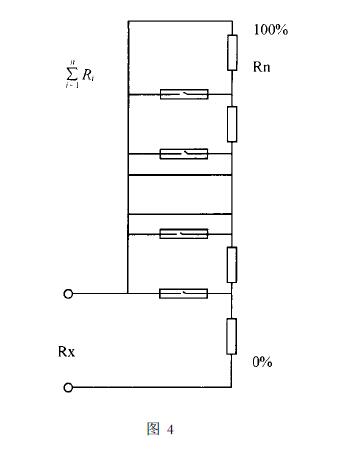
20世紀末,磁翻板現場指示液位計和磁翻板液位變送器的出現給自控設計者在液位計的選型使用上增添了余地。磁翻板液位計的工作原理如圖3所示。磁性浮子隨著被測液體上下移動, 翻板標尺中的翻板, 受到磁性浮子的吸引而翻轉, 翻板上正反兩面涂有紅、綠兩色。紅色顯示液位指示值, 綠色為空值, 這樣可以清晰地顯示出液位的高度的現象。磁翻板液位計清除了被測液體對玻璃板液位計的污染造成看不清被測液位高度, 及玻璃板液位計取樣角閥易堵塞和選位不當所造成的假液位現象, 而被**地替代玻璃板液位計。磁翻板液位變送器采用磁耦合工作原理, 傳感器內裝有一組干簧管和精密電阻, 當磁性浮子隨液位變化上下移動時, 位于液位處的干簧管依次接通, 使傳感器的輸出電阻發生變化(如圖4所示), 再通過轉換電路模塊將電阻值轉換成4 ~ 20mA電流輸出。
磁翻板玻璃液位計和磁翻板液位變送器都以磁性浮子為基礎, 因為磁性浮子與被測液體的密度ρ有關, 這就給雙液位計的選型增加了新方法。我們分別對塔、槽、廢熱鍋爐如圖1、圖2的雙液位計均采用磁翻板現場指示液位計和磁翻板液痊變送器的方式進行改造, 取得了良好的效果, 兩液位計之間測量誤差可控制在20 - 30mm。兩液位計指示基本一致, 方便了生產操作, 同時省去開停工及正常生產時對儀表零位的反復調整。在改造試驗過程中體會到, 采用磁翻板現場指示液位計和磁翻板液位變送器作為雙液位計設計方案時, 兩臺液位計好由同一制造廠同時生產, 這就可以保證磁性浮子的重量一致性, 也就是介質密度ρ的一致性, 減少磁性浮子重量差異帶來的測量誤差及零位的偏差。磁性浮子外表要光滑無毛刺, 要有足夠的磁性, 因為磁翻板液位變送器的兩種變換原理, 干簧管驅動有阻式和磁致伸縮式, 都與磁性浮子的磁場強弱有關, 磁場強度足夠、磁性分布均勻、外表沒有毛刺都可清除測量液位瞬間回零現象, 保證系統的穩定性。由于磁翻板液位計相對價格便宜、維修簡便、性能可靠, 成為雙液位計設計方案的**。
上一條:雙法蘭液位變送器應用在鍋爐汽包液位測量上的案例分析
下一條:單雙法蘭式液位變送器的安裝與使用
在石油化工自控設計人員對一些較重要的塔、槽、釜、罐的液位測量和控制采用雙液位計的設置, 如圖1和圖2所示。這樣設計一是為了將被測量液位轉換成顯示和控制所需的信號, 二是為了方便操作人員在生產現場進行巡回檢查時能方便地看到被測量液位指示值, 三是為了方便維護。其中之一液位計發生故障可以無顧慮地進行檢液位計修, 不會影響生產正常進行。簡要介紹液位變送器測量原理和雙液位計新的選型方法。


2 存在的問題
以上的雙液位計的設置應該說考慮得十分周全, 可是多數測量液位變送器都和密度ρ有關, 這就造成在實際使用過程中往往會出現這兩臺液位計指示值不能吻合, 有時誤差較大, 尤其在一個生產裝置開停工過程中或操作系統不穩定的情況下, 兩者之間誤差甚至會達到30%左右。這時生產操作人員就會為液位測量儀表的準確性向儀表維修人員提出疑問, 例如圖1, 某苯塔塔底液位測量, 它采用差壓測量液位變送器和玻璃板液位計相結合的雙液位計, 它的設計使用工況條件是塔底壓力80kPa, 溫度150℃, 介質密度ρ:0. 69g /cm3 , 差壓變送器測量液位的工作原理是ΔP =ρH, H =ρ/ΔP, 當生產穩定時, ρ=0. 69 g /cm3 , 也就是說相當于一個常數, 液位高度H 只和ΔP有關, 差壓變送器所測的液位應該是正確的, 也能和玻璃板液位計顯示的液位高度一致。但在裝置送苯過程中, 塔底注入的純苯, 其密度為0. 878 g /cm
3 , 塔底壓力和溫度均為常溫常壓,
遠遠偏離設計值, 這時就會出現玻璃板液位計所顯示的液位高度和差壓變送器傳送到中控室的液位指示值相差甚大。在注苯過程中差壓變送器所測的差壓ΔP注=ρ注H注=0. 878H注與設計值ΔP設=ρ設H設=0. 69H設相差甚遠, 因為差壓變送器無法識別所測的介質密度。這時它的差壓輸出為ΔP注=ΔP設, 這樣就出現0. 69H設= 0. 878H注、H設=0. 878 /0. 69 H注=1. 27H注, 這就是在注苯過程中差壓變送器顯示的液位高度遠遠大于玻璃板液位計液位顯示高度的原因。
如圖2, 某一鍋爐液位測量, 它采用外浮筒液位變送單元和玻璃板液位計相結合的雙液位計, 它的設計使用工況條件是壓力3MPa、溫度230℃、介質密度0. 823 g /cm3 。外浮筒液位變送器測量液位的原理是基于阿基米德定律, 浮筒浸在液體里所受到的浮力大小等于浮筒所排開液體的重量
F -浮筒所受的浮力;
ρ-液體密度;
A -浮筒截面積;
H -浮筒排開液體的液柱高度(被測液位的高度)。
對于一臺外浮筒液位變送器, 它的浮筒截面積A 是恒定不變的, 可視為一個常數, 那么浮力只和被測液體的密度ρ和高度H有關, 在正常生產的情況下, 被測液體的密度ρ基本上是一個常量, 即被測液位的高度H和浮力F成為一個線性關系:F設=ρ設.AH設。外浮筒液位變送器所測的液位高度(即中控室顯示的液位高度)就能和現場玻璃液位計顯示的液位高度一致。可是鍋爐開工初期進水、升壓升溫過程中, 所有的工況值都大大偏離設計值。這時水的密度ρ開=0. 98 g /cm3 , 就會出現F開=ρ開. AH開,按設計要求F設=F開, 也就是ρ設. AH設=ρ開. AH開,H設=ρ開/ρ設H開, 代入開工和設計的不同密度值, 就會得到H設=0. 98 /0. 823H開=1. 19H開, 這就是鍋爐開工初期出現的外浮筒液位變送器所測的液位高度(即中控室顯示的液位高度)大大高于現場玻璃液位計顯示的液位高度的原因。
這是兩個較為典型的雙液位計之間誤差偏大的問題, 誤差也只是暫時的, 等到開工正常后, 各項參數尤其是液體密度ρ達到設計值時, 兩臺液位計的指示就會一致, 一般情況下不必進行處理。但是出現儀表維修人員不能清楚地向生產操作人員解釋這一現象、或生產操作人員一定要求兩臺液位計指示一致的情況下, 只能將液位變送器或差壓變送器的零位一直下調到兩表一致, 待開工正常之后, 再將液位變送器或差壓變送器的零位調回去, 使兩臺液位計在正常生產情況下指示值一致。
有時候在生產過程中也會出現由于生產控制過程發生變化, 尤其是溫度發生較大變化的情況, 這時就會造成被測液體的密度ρ發生較大的變化, 從而使液位變送器指示值出現偏差, 造成兩臺液位計之間誤差較大。在雙液位計之間發生指示偏差較大。在處理這類故障時, 一定要*先了解生產工況是否有較大變化, 一定要慎重處理, 以免帶來很多不必要的工作。


3 磁翻板雙液位計的原理及優點
20世紀末,磁翻板現場指示液位計和磁翻板液位變送器的出現給自控設計者在液位計的選型使用上增添了余地。磁翻板液位計的工作原理如圖3所示。磁性浮子隨著被測液體上下移動, 翻板標尺中的翻板, 受到磁性浮子的吸引而翻轉, 翻板上正反兩面涂有紅、綠兩色。紅色顯示液位指示值, 綠色為空值, 這樣可以清晰地顯示出液位的高度的現象。磁翻板液位計清除了被測液體對玻璃板液位計的污染造成看不清被測液位高度, 及玻璃板液位計取樣角閥易堵塞和選位不當所造成的假液位現象, 而被**地替代玻璃板液位計。磁翻板液位變送器采用磁耦合工作原理, 傳感器內裝有一組干簧管和精密電阻, 當磁性浮子隨液位變化上下移動時, 位于液位處的干簧管依次接通, 使傳感器的輸出電阻發生變化(如圖4所示), 再通過轉換電路模塊將電阻值轉換成4 ~ 20mA電流輸出。
磁翻板玻璃液位計和磁翻板液位變送器都以磁性浮子為基礎, 因為磁性浮子與被測液體的密度ρ有關, 這就給雙液位計的選型增加了新方法。我們分別對塔、槽、廢熱鍋爐如圖1、圖2的雙液位計均采用磁翻板現場指示液位計和磁翻板液痊變送器的方式進行改造, 取得了良好的效果, 兩液位計之間測量誤差可控制在20 - 30mm。兩液位計指示基本一致, 方便了生產操作, 同時省去開停工及正常生產時對儀表零位的反復調整。在改造試驗過程中體會到, 采用磁翻板現場指示液位計和磁翻板液位變送器作為雙液位計設計方案時, 兩臺液位計好由同一制造廠同時生產, 這就可以保證磁性浮子的重量一致性, 也就是介質密度ρ的一致性, 減少磁性浮子重量差異帶來的測量誤差及零位的偏差。磁性浮子外表要光滑無毛刺, 要有足夠的磁性, 因為磁翻板液位變送器的兩種變換原理, 干簧管驅動有阻式和磁致伸縮式, 都與磁性浮子的磁場強弱有關, 磁場強度足夠、磁性分布均勻、外表沒有毛刺都可清除測量液位瞬間回零現象, 保證系統的穩定性。由于磁翻板液位計相對價格便宜、維修簡便、性能可靠, 成為雙液位計設計方案的**。
上一條:雙法蘭液位變送器應用在鍋爐汽包液位測量上的案例分析
下一條:單雙法蘭式液位變送器的安裝與使用
相關產品
- 相關文章
-
- 雷達液位計的作用 【2025-11-18】
- 雷達液位計使用注意事項 【2025-11-18】
- 雷達液位計安裝注意事項全解析 【2025-11-14】
- 雷達液位計工作原理及相關說明 【2025-11-14】
- 靜壓式液位變送器分為幾種 【2024-01-01】
- 液位變送器的靜態偏差 【2024-01-04】
- 壓力液位變送器信號 【2024-01-02】
- 壓力液位變送器好壞 【2023-12-19】
- 雙法蘭液位變送器安裝罐 【2024-01-04】
- 液位壓力變送器接口 【2023-12-16】








